Group Project Resilient Adaptive Network: A Bio-Inspired Pneumatic System
-
Vita Amalia Sipayung,
M.S. DT, 2026
Xiaoman Yang, M.S. DT, 2026
Zijie Zhou, M.S. DT, 2026
Class
DESIGN 6151 Design and Making Across Disciplines IInstructor
Jenny Sabin
Laura Maria Gonzalez
Lawson Spencer
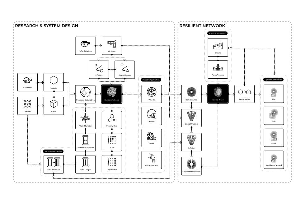
This project explores the design of adaptive interfaces for resilience through a connected network system that dynamically responds to ground deformations. Inspired by the protective and adaptive mechanisms of pufferfish, sponges, and turtle shells, the system integrates geometric principles to enhance flexibility, shock absorption, and structural integrity.
The design utilizes a truncated octahedral structure, merging the hexagonal patterns of turtle shells and cubic formations of sponges to create a balance between flexibility and strength. Through internal pressure modulation, cellular structure optimization, and mechanical geometry analysis, the system ensures both adaptability and durability.
Internal air pressure will be redistributed by detecting surface deformations, allowing the structure to dynamically adjust to external forces. This real-time adaptation enhances resilience in unpredictable environments.
The adaptive network system presents applications in protective gear, responsive wheels, and lightweight architectural structures, demonstrating the potential of bio-inspired design in engineering flexible and durable solutions.
Medium of physical object:
Digital fabrication, pneumatic system, and 3D printing (PLA, TPU).